Skip navigation and go straight to content

Lars Vejen

Architect Lars Vejen has designed a range of modular panels for aesthetic and practical storage in, for example, kitchens.

Architect Lars Vejen has designed a range of modular panels for aesthetic and practical storage in, for example, kitchens. The modules form a straight horizontal line, complementing an interior with a simple and powerful graphic element.

Lars Vejen describes his passion quite simply; he loves to find and shape the good idea! Furthermore, he enjoys seeing it being realised in collaboration with talented people in their separate fields of craftsmanship, engineering, marketing, sales, logistics, etc.

Design thinking (a creative and problem-solving approach to design) is most effective when implemented with a deep understanding and recognition of the value of all the people involved in the development of a product. It emphasises the importance of considering and valuing the contributions of everyone involved in the design process to get the best results.

As an architect, he uses his background to extract the essence of a need. To see the potential in the context of a room, in the architecture and in the people, without whom none of it would make much sense. He finds inspiration by living life and observing how people, things, shapes, nature, structures and elements interact.


The thoughts behind the design

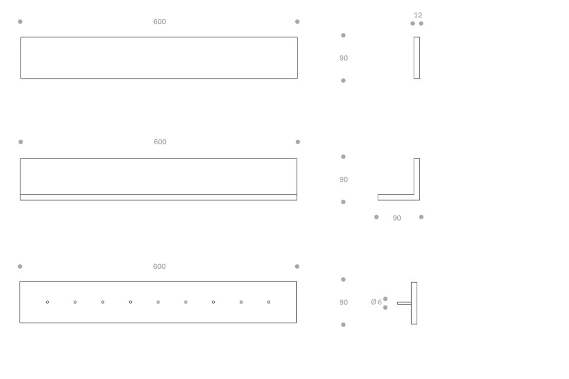
STRAIGHTS simple and functional storage elements are for modern interior design. The modules function as both storage and display elements, and can be combined as desired to meet the needs of the kitchen, bathroom, living room, etc.

The simple design combined with high-quality craftsmanship in the exclusive Corian material ensures a durable product designed for use in damp and wet areas such as by the sink.

STRAIGHTS is designed in 60 cm modules that can easily be combined as required and can always be rearranged or replaced with other modules to fit classic kitchen module dimensions.

GALLERY: The STRAIGHTS design process

LOCA’S HISTORY

LoCa’s story started in the 1990s, when Thorkild Lundsgaard realised the need for a beautiful and functional coat rack.

CONTACT LOCA

LoCa has retailers all over Denmark, Europe and many other parts of the world. We are happy to help you find a retailer near you.

X·TEND

FLEXIBLE WARDROBE STORAGE

X·TEND is designed with a focus on aesthetics and sustainability. One box, with thousands of combinations and the possibility to build two or more sets together. So, you can personalise this coat rack to suit all kinds of homes, and wall sizes.